六欣 卡盘世界集研发/生产/销售服务于一体

全国服务热线400-892-2003189-2584-2597

DOTA2竞猜都用雷竞技

热搜关键词: 分度卡盘 膜片夹头 主轴夹座 雷竞技手机app

三爪卡盘结构组成,(车床三爪卡盘介绍)

来源:六欣卡盘世界 | 发布日期:2022-06-28

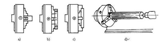
三爪卡盘是数控机床上用以夹紧物品工件产品的机械装置应用分布范围在三爪卡盘体上的活动软爪的轴径移动,把物品夹紧和精确定位的车床配件;三爪卡盘通常由三爪卡盘体、活动软爪和软爪传动装置3部位组成。卡盘体孔径最少为65mm,最高可以达到1500mm,中间有埋孔,便于根据产品工件或圆棒;背面有圆柱型或短锥型构造,立即或经过法兰片与车床主轴顶端相联接。

车床三爪卡盘

卡盘一般组装在车床、磨床和内外磨床上应用,也可与各种各样测量范围设备相互配合,用来数控车床和刨床上。

从夹盘爪数上还能够分为:两爪夹盘,三爪卡盘,四爪卡盘,六爪夹盘和特殊夹盘;从运用推动力上还能够分为:手动夹盘,气动夹盘,液压夹盘,电动夹盘和自动化设备夹盘。从结构上能够分成:空心卡盘和中实卡盘。

三爪卡盘结构组成如下:

1、手动式三爪卡盘构造三爪卡盘由爪盘体、小齿轮轴、大齿轮轴(另一端是平面图螺牙)和三个卡爪构成。3个卡盘爪上边有与平面布局图螺牙一样螺牙与之互相配合,3个卡盘爪在爪盘体中的导向槽中呈一百二十划分。爪盘体的锥孔与车床主轴轴承前面的外圆锥相互配合,起对中功效,根据键来传送扭距,最终用螺帽将卡盘体卡紧在机床主轴上。当旋转其中一个小伞齿时,即推动大螺旋伞齿轮旋转,其上的平面图螺牙又推动三个卡爪与此同时向管理中心或向外挪动,因此完成全自动定心。定心精密度不太高,约为0.05~0.15mm。

2、推动力三爪卡盘结构驱动力卡盘隶属于自动式定心夹盘,配以不一样的动力系统(汽缸、液压油缸或电动机),便可构成气动式卡盘、液压机卡盘或电动式卡盘。液压缸或油缸装到车床主轴后面,用穿在主轴轴承孔里的支撑杆或顶管,推拉门主轴轴承前面卡盘身体内的契形套,由契形套的径向胜败使3个卡爪与此同时轴向挪动,这类卡盘手疾眼快,卡爪挪动量小,适合在批量生产中应用。

三爪卡盘结构组成

数控车床三爪卡盘又被称之为数控车床三爪自定心卡盘,它配戴正爪和反爪各一幅,可分别运用。车床三爪卡盘的卡爪由两部分构成,选用螺纹连接,可调节为正爪或反爪应用。与此同时,车床三爪卡盘能够再给予软卡爪的情况下,经配车或磨后获得理想的夹紧精密度。

数控车床三爪自定心卡盘系短锥连接形式,可马上与数控车床主轴连接。它与车床主轴的衔接有形式多样,可各自同3、4、5、6、8、11、15号短锥主轴轴承顶端配套设施。车床三爪自定心卡盘选用平面图螺牙构造,根据传动齿轮、盘丝、使卡爪与此同时挪动,对产品完成全自动定心。短锥体卡盘可同时组装到车床主轴上, 并具备悬伸短、刚度强、定心高精度,组装便捷等特性,球墨铸件卡盘,经深度加工而成,具备较高速旋转,夹紧力比较大,等特性,钢质卡盘具 有高速旋转、高夹紧力、使用寿命长等优势。

车床三爪卡盘

原文中介绍了三爪卡盘的构造,这是由爪盘体、小齿轮轴、大齿轮轴和三个卡爪构成的。与此同时,还认识了车床三爪卡盘,根据传动齿轮、盘丝、使卡爪与此同时挪动,对产品完成全自动定心。大量三爪卡盘的专业知识和运用,还可以关注我们的网站发布,还能够关注我们的公众平台。

【本文标签】 三爪卡盘结构组成 车床三爪卡盘

【责任编辑】六欣卡盘世界

最新资讯

Baidu
map